With over 300 years of engineering experience, Savery designs and manufactures high-quality hydraulic systems tailored to your needs. If you're interested in this product, fill in our contact form, and our team will be in touch.
Contact usPE16-S67D Proportional, Pilot Operated (PE16-S67D)
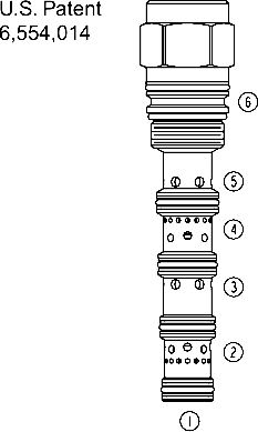
A screw-in, cartridge-style, proportional, spring-centered, pilot-operated spool-type hydraulic directional valve.
Product Operation
When the PE16-S67D is in neutral position, inlet port ➂ is blocked while ports ➁, ➃ and ➄ are connected to each other. With remote pilot signal at port ➀, the valve’s spool shifts proportionally to the applied pilot pressure to allow flow from ➂ to ➃ through a load such as a hydraulic cylinder or motor, and then from ➁ to ➄ and to tank. On remote pilot signal at ➅, the spool shifts proportionally to the applied pressure in the opposite direction, reversing the flow direction. The spool is
symmetrical, providing both meter-in and meter-out control.
Product Features
• Hardened spool and cage for long life.
• Cost-effective cavity.
• Excellent metering characteristics.
• Good linearity.
Product Ratings
Maximum Operating Pressure: Port ➂: 345 bar (5000 psi) Ports ➁ and ➃: 240 bar (3500 psi) Ports ➀ and ➅: 27.6 bar (400 psi)
Flow: See Performance Chart
Internal Leakage: 197 ml/minute (12 cu. in./minute) at 207 bar (3000 psi) maximum
Temperature: -40 to 120°C with Buna N seals
Filtration: See page 9.010.1
Fluids: Mineral-based or synthetics with lubricating properties at viscosities of 7.4 to 420 cSt (50 to 2000 sus); See Temperature and Oil Viscosity, page 9.060.1
Installation: No restrictions; See page 9.020.1
Cavity: VC16-S6; See page 9.116.1
Cavity Tool: CT16-S6; See page 8.600.1
Seal Kit: SK16-S6X-BMMMM; See page 8.650.1




















